cancel
Showing results for 
Show  only  | Search instead for 
Did you mean: 
3,882 Views
Message 21 of 39

Re: SNR like a roller-coaster ? - help

Your line speed will only vary if you drop the line and get a resync, it won't vary as the SNRM varies.

You seem to be looking at the SNRM the wrong way round, the line is improved when the SNRM is high, not impaired.

The modem can't handle the PPPoE if it is in true bridge mode.

3,877 Views
Message 22 of 39

Re: SNR like a roller-coaster ? - help

just curious but have you tried using a standard rj11 cable to connect the router to the master socket instead of cat 6 as that may connect more secure in master socket



If you like a post, or want to say thanks for a helpful answer, please click on the Ratings 'Thumbs up' on left hand side.
If someone answers your question correctly please let other members know by clicking on ’Mark as Accepted Solution’.
3,872 Views
Message 23 of 39

Re: SNR like a roller-coaster ? - help

thanks

 

i will try different cables now and see if there is any difference. My though was to use CAT6 for shielding benefit, hadn't thought of the pins not making enough contact ?

 

 

0 Ratings
3,865 Views
Message 24 of 39

Re: SNR like a roller-coaster ? - help

Yes, have tried basic RJ11 as well - but will try again now.

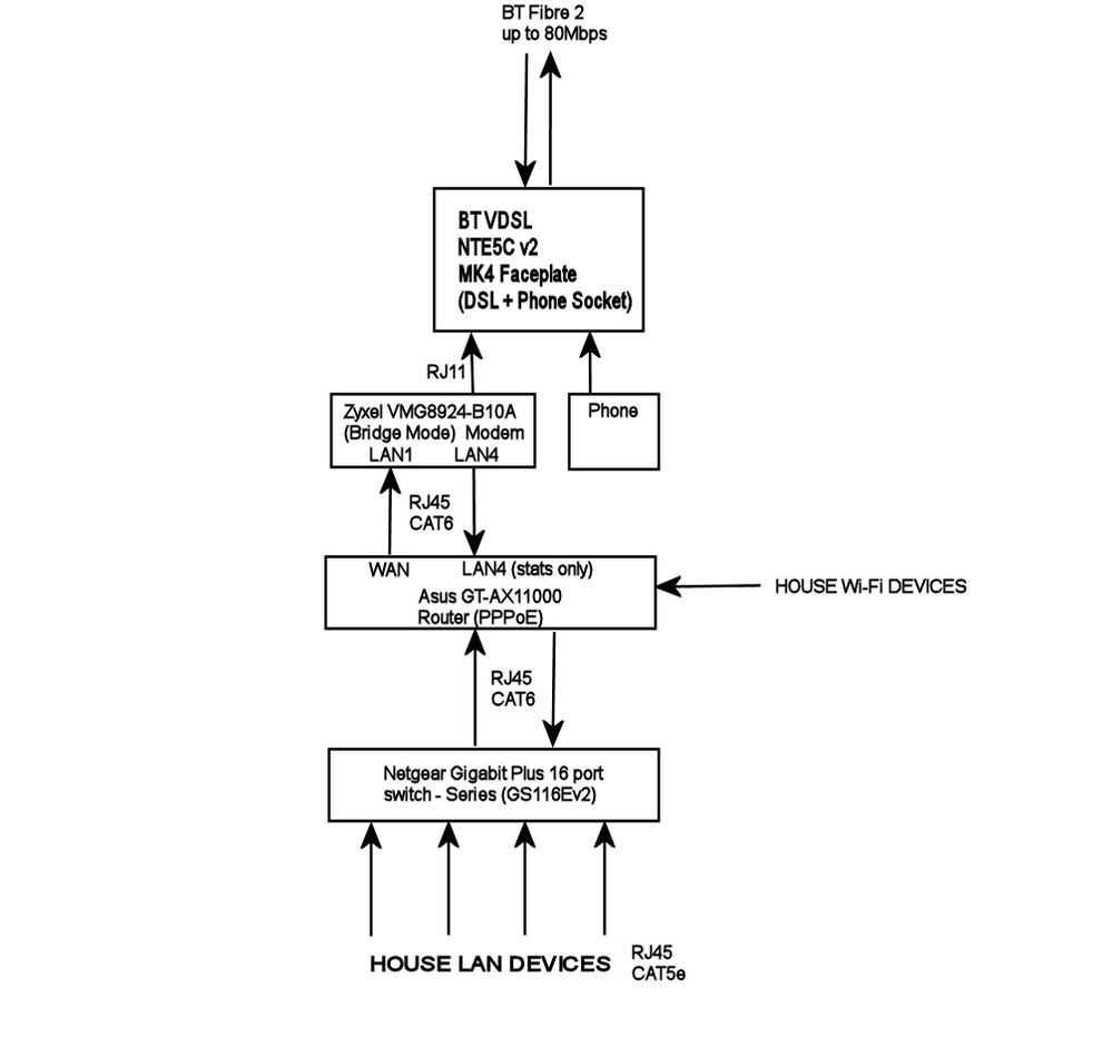
But in my setup, it's RJ11 to RJ11 (Zyxel Modem to Master Socket)

My home network setup looks like this ;

My LAN network.png

 

0 Ratings
3,837 Views
Message 25 of 39

Re: SNR like a roller-coaster ? - help

Hi @xlr8r and thanks for posting.

I might be wide of the mark here but have you considered the possibility that REIN  could be causing this? You mentioned the problem mostly happens ' around 7:30 am - 8:00 am when it jumps up to 9.2 ?? it does this every day, and reduces again around 9pm'.

Cheers

David

3,824 Views
Message 26 of 39

Re: SNR like a roller-coaster ? - help

just cant figure out what is causing it...

here are my Modem Stats for past day and a half.... anything out of the ordinary (apart from the SNRM) ?

From my daily SNRM graph, "something" is being switched on every evening between 8:00pm - 9:00pm, and stays on until around 9:00am - 10:00am.... but what , and where is it...?

 

Spoiler
BITS.pngCRC.pngFEC.pngHlog.pngQLN.pngSNR.pngSNRM 26-6-2021.pngStats.png

 

0 Ratings
3,812 Views
Message 27 of 39

Re: SNR like a roller-coaster ? - help

Thanks again @xlr8r .

If this is REIN it can be difficult to pinpoint. The best place to start is with an AM/MW radio and tune it to 612KHz. if you have one try walking around your home / property to see if it picks anything up.

Cheers

David

3,788 Views
Message 28 of 39

Re: SNR like a roller-coaster ? - help

ok, first off, my earlier post (on page 1) of me thinking it was all to do with my 'cordless house phones' was completely inaccurate and just a coincidence .... so everyone reading this, ignore that part.

So ... on advise suggested, i dusted off my old ghetto-blaster i had in storage in the loft, and went strolling around the house with it pumping out bitchin white-noise on MW 612... (I wish I had taken a photo of my family's faces while they watched in disbelief.... i do think they were about to have me "sectioned"..)

anyway...after explaining the 'method behind the madness'.... they decided not to.... (phew!) was a close-call!

The results though interesting, resulted inconclusive. While lots of devices in the house stressed out my ghetto-blasters speakers... none were causing any noticeable RFI or EMI on the SNRM value?

However.... after that I decided to test each of the Lighting components, and voila! this is where it became interesting.....!

After a process of elimination, (and some 'late but useful' info from the missus...) I discovered several issues with some household LEDs.!! i.e.;

1. Kitchen LED strips & transformers - (about 30ft) of 2835 Led strips + various wattage transformers - causing SNRM to drop.

These were causing RFI. Turned on/off anytime between 7pm,  until around 10pm.

2. Living Room GU10 LED bulbs (dimmable) 220-240v (unbranded) - (or the dimmer switch) - causing SNRM to drop.

I have 10 x of these in my living room all linked in parallel, on a dual (touch control) dimmable switch. only the bulbs in the "cubes" cause RFI, teh ceiling LEDS (which must be different types, cause no issue).

3. Bedroom Hall single-screw in SMD bulb - causing SNRM to drop.  

I had believed for some time that all our internal house-lights were being extinguished before retiring to bed for the night. However, after probing the missus (no, not in the bedroom)  she revealed that when she lets the dog out for a wee , she usually leaves the Hall light (led) on (to ward off burglars apparently?). And this is causing the RFI all through the night. i.e. Switched on around 7pm onwards , and left on until around 8-9am (or maybe longer).

The big question now though, is how to eliminate the interference from these LEDs...? The single bulb led is an easy fix, but what about the others ? is there anything I can do with this ?

I also suspect there are more devices as (I think) my SNRM should be sitting at around 20 ? correct me if I'm wrong here.

I've included screenshots of all the problematic devices in the Spoiler tab below, so that others may find the info useful in similar circumstances.

Spoiler
2835 SMD  LED STRIPS2835 SMD LED STRIPSGU10 LEDS  (IN CUBES  ON BACK WALL)GU10 LEDS (IN CUBES ON BACK WALL)TOUCH SENSITIVE DUAL DIMMERTOUCH SENSITIVE DUAL DIMMERINSIDE THE CEILING LIGHT LED BULBINSIDE THE CEILING LIGHT LED BULBGU10 SMD LED  220-240VGU10 SMD LED 220-240VSNRM while testing lightsSNRM while testing lightsCEILING LIGHT 240V (unbranded)CEILING LIGHT 240V (unbranded)VARIOUS WATTAGE  LED TRANSFORMERSVARIOUS WATTAGE LED TRANSFORMERS

 

 

0 Ratings
3,761 Views
Message 29 of 39

Re: SNR like a roller-coaster ? - help

As stated previously, you are looking at snrm the wrong way round. Lower, not higher is better. The target snrm is 6dB or if on a Huawei cabinet, 3dB.

0 Ratings
3,748 Views
Message 30 of 39

Re: SNR like a roller-coaster ? - help

LOL, and getting more confused the more i read, by "drop" i mean "dips or drops"on the graph.

 

Screenshot_3.png

....then, "Lower, not higher is better."....?

so, given this information, are you saying the the LEDS in my house...are actually..."improving" my line ...?

And yes, i am on a Huawei cabinet. For which i bought the HG612 (unlocked) Modem, and also the ZyXEL VMG8324-B10A (as I understand they perform better with Huawai Cabs) ?

thanks

(i.e. so 12db SNRM is "worse" when leds are switched off ? and 8 SNRM is "better" when LEDS switched on....?

LED testing.png

0 Ratings